Концерн Ford создал уникальный способ понижения радиуса поворота автомобиля

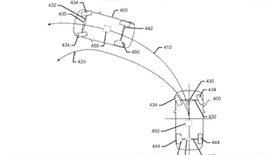
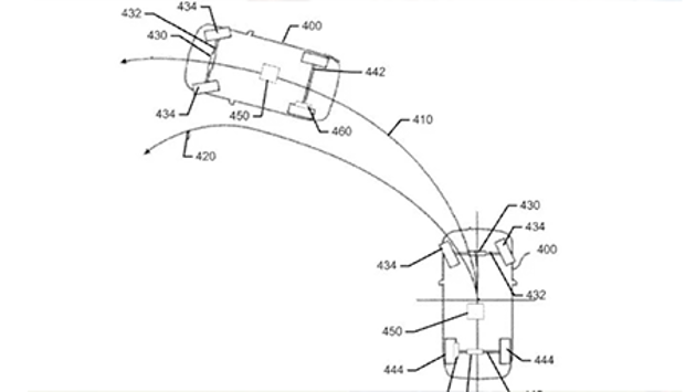
Инженеры автоконцерна Ford разработали новый механизм для уменьшения радиуса поворота автомобиля. По задумке компании, в новых машинах будет уменьшен радиус поворота в результате за счет изменения крутящего момента на отдельных колесах.

Концерн Ford создал уникальный способ понижения радиуса поворота автомобиля
© runews24.ru

Пока компания только подала заявку на с этим новшеством в Ведомство по патентам и товарным знакам США. В ней говорится, что особый контроллер будет отслеживать показатели угла поворота рулевого колеса и скорость вращения колес, устанавливая тем самым необходимость уменьшения радиуса поворота. В самом Ford называют данную новацию «режимом помощи при повороте».

Для включения этой функции система должна снизить крутящий момент, направляемый на заднее внутреннее колесо, а затем передать больший крутящий момент на оба передних колеса. Вследствие этого снижение крутящего момента для задних колес будет достигаться благодаря торможению, что дает возможность применять технологию, в том числе, для переднеприводных автомобилей.