Volkswagen придумал новый способ включать поворотники
В Ведомстве по патентам и товарным знакам Германии появилось описание нового руля с элементами управления, расположенными прямо на ободе —слева и справа. Перенести сюда предлагается переключатели поворотов, управление фарами, круиз-контролем и другими функциями. По задумке Volkswagen, такое решение удешевит производство и одновременно повысит безопасность, но вопрос защиты сенсоров от случайного нажатия остается открытым.
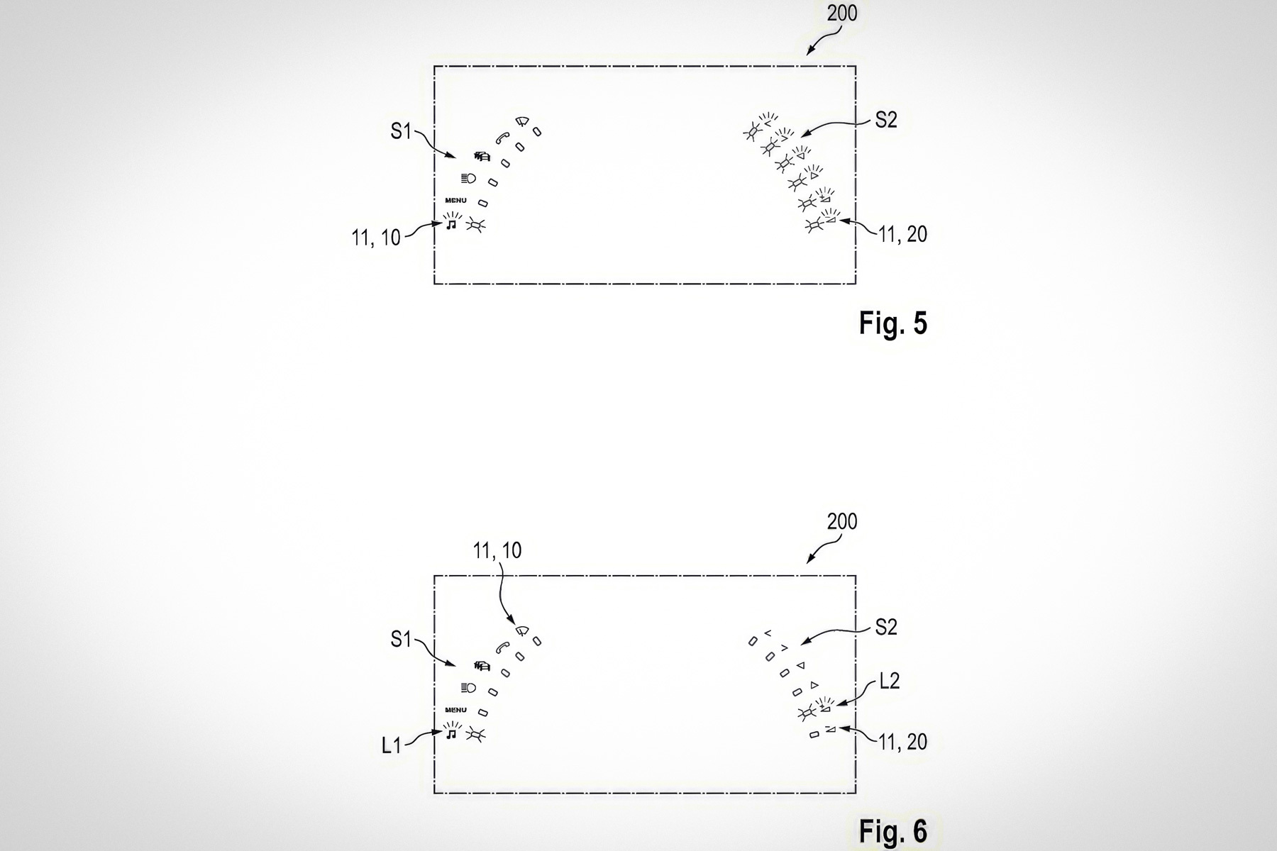
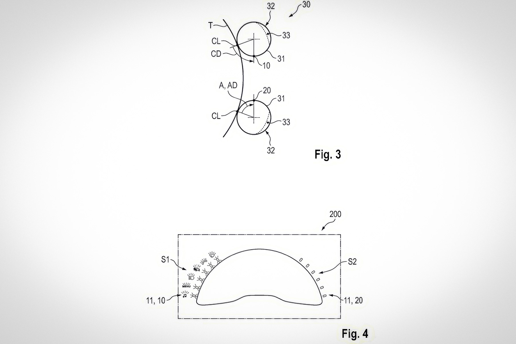
На правой стороне обода размещены основные элементы управления. При нажатии на них слева высветятся вторичные, и водитель сможет выбрать нужную: к примеру, нажатие на пиктограмму фары справа даст возможность управлять дальним светом, яркостью и противотуманками слева.






Кнопки могут быть как сенсорными, так и физическими. Поскольку они собраны в едином блоке на руле, Volkswagen не придется тратиться на производство «лишних» физических элементов управления.
Volkswagen разработал умные часы, которые сделают езду с автопилотом безопаснее
Физические кнопки удобнее сенсорных экранов, показало исследование
Tesla вновь оснащает Model S и Model X обычным рулем вместо штурвала
Учитывая массовость производства, руль, который можно легко адаптировать к любой модели, способен сэкономить Volkswagen миллионы на разработке и производстве. Среди других плюсов — большая свобода для дизайнеров, а также безопасность: водителю не придется убирать руки с руля, чтобы дотянуться до нужных кнопок.
При этом сенсорные кнопки спонтанно откликаются на прикосновения, что может, напротив, привести к опасной ситуации на дороге. Как Volkswagen решит эту проблему, пока неясно. Любопытно, что совсем недавно глава концерна Томас Шефер выступил с критикой сенсоров: он назвал такое управление на руле автомобиля ошибкой, а в 2022 году Volkswagen уже обещал избавиться от него, прислушавшись к критике клиентов.
Автомобили с самой дружелюбной электроникой